CEP 流计算引擎状态
通过本页,用户可以实时监控 CEP 内部数据状态(例如监控值变化),同时提供便捷交互操作进行测试。该页面仅支持 3.00 版本 server。
包含以下信息:
- 主要展示功能为:CEP 引擎及其子引擎的基本信息。
- 数据视图:查看用户自定义数据的最新快照。
- 发送事件到 CEP 引擎。
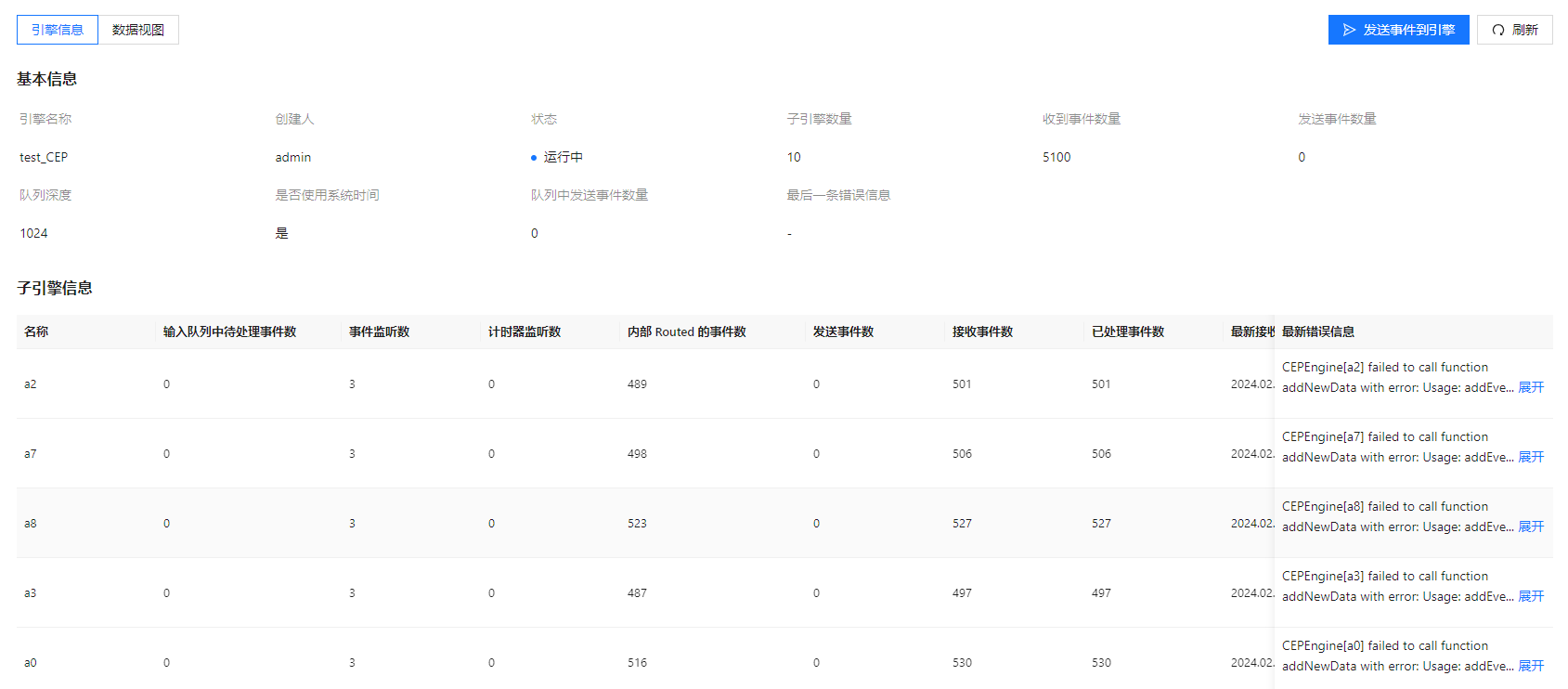
引擎信息
本栏展示引擎的基本信息和子引擎信息。

包含以下信息:
- 通过基本信息用户可以得到引擎名称、引擎的工作状态和性能数据、引擎错误处理情况,从而进行故障诊断,实时监控引擎状态。
- 子引擎信息包含:引擎名称、输入监控、队列中待处理事件数、事件监听数、计时器监听数、内部 Routed 的事件数、发送事件数、接收事件数、已处理事件数、最新接收事件的时间、最新错误时间。通过以上信息用户掌握子引擎的信息配置、事件处理、错误事件信息,全面了解子引擎运行情况,及时调整、优化性能和功能。
- 页面右上角手动刷新可以刷新当前所有 CEP 引擎的状态,进行实时监控。
数据视图
本栏展示用户自定义数据的监控页面。

包含以下信息:
- 用户点击或搜索查询 key,面板展示对应的名称和值。
- key 值动态增加,面板增加相应的 key。同时,页面提供手动刷新按钮。
发送事件到引擎
支持用户发送事件到 CEP 引擎。


包含以下信息:
- 用户配置发送的目标引擎、事件类型,填写事件字段,点击确认,执行操作。
- 事件字段类型说明参照 DolphinDB 数据类型。
